苹果在智能织物领域都有哪些研究?
摘要
智能织物作为一种创新型智能材料,是电子科技与CMF融合的经典设计玩法。既有织物本身的柔软触感及透气舒适等特性,还有各种各样的电子化功能性。是集合纺织、电子、化学、生物、医学等多学科知识综合开发的具有高智能化的纺织品。

目前,智能织物虽然由于几大痛点问题尚未解决,还未普及应用,但很多终端企业及供应链厂商已在积极研发,未来在智能穿戴、电子通信、医疗等行业都有广阔的应用前景,有专业机构预测:预计到2030年,新兴电子织物的全球市场规模将达到14亿美元。
电致变色织物表带
这是苹果2023年初获批的最新专利,显示苹果正在研究一种可智能变色的表带产品,为Apple Watch打造设计。

此举将电子科技、“变色”元素、个性化风格、情感人机交互等全部融合到了一起。据介绍,消费者可根据需求进行定制化,实现趣味性、多样性和个性化的设计。同时也可对服装、其他可穿戴物品、环境或其他偏好的选择,让Apple Watch显示特定的颜色。其专利核心其实是由织物制成的表带,而织物本身是由聚合物细丝织成的。
这款表带设计的背后离不开“电致变色”技术。据专利描述,表带的色彩可以通过改变电压来变化,进而实现颜色的多种组合方式。电致变色层与导体可互相连接传递电压。电致变色层可以包括聚合物层。可以在施加电压的情况下发生反应以改变其颜色。
专利中的细节显示了用户如何通过Apple Watch滑动以改变表带颜色,一些或所有的丝线可以实现电致变色功能。例如,一条或者多条丝线可以包括一个导体和一个电致变色层。
智能织物按钮
在当前的电子设备中,按钮是一个非常重要的交互元素。无论作用是打开/关闭某个设备、调整音量,或者和某个项目进行互动,按钮已经存在很长时间了。
苹果搞了一项专利:带有织物按钮的电子设备,通过取消正式的开关式元素而采用其他基于织物的想法,可以将这些按钮打造得更加纤细。该专利提出,按钮的支撑结构可以由织物制成,其中可以包含决定按钮按压的元素。

例如,一个按钮可以由一个塑料方块制成,边缘用织物将其与设备的其他外表面相连。当用户按下塑料方形按钮时,由于织物的柔性,它可以以一种驱动的形式向下移动。织物可以有一个偏压结构,并由针织织物制成,使其能够将按钮支撑在所需的位置,并在按压结束后返回到该位置。
针织品还可以包括导电结构,如金属线,它们可以形成电容式传感器电极。通过检测电极之间的电容变化,一旦达到一定的电容水平,该设备就可以检测到按下的按钮。这些金属线也可能允许在按下按钮时发生电阻变化,例如,指示按钮何时被按下,足以算作对设备的按压。也有可能的是,这种电阻可以被监测,以检测按钮的按压。
苹果公司还建议在可移动的按钮结构中加入一个触觉执行器,以及一个空气囊,以便为按下的按钮提供阻力,并创造一个“有弹性的矩形环”来进一步支持。使用多层、光学纤维来照亮按钮,以及用交织在一起的股线创造出一个"双稳态弹簧"。
电路可调节外观的织物产品
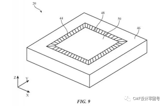
苹果所获专利为一种基于织物的物品,包括由交织的材料(例如交织的管束和其他材料束)形成的织物。使用基于织物的物品中的控制电路可调整织物部分的外观。
该材料线可涵盖由不同颜色的带电纳米粒子形成的电泳墨水的管道,可使用控制电路向电泳墨水施加电场以改变织物的外观。
带电纳米粒子和流体可包含在管束内或可封闭在封装球体等封装结构内。封装球体或其他封装结构可嵌入透明聚合物粘合剂中,而透明粘合剂位于织物的管道或其他结构中。在织物的给定区域可施加电场,其中织物可使用与该区域重叠的导电股线、导电电极例如管股上的透明导电电极、同轴电极或其他电极结构。
下图11为示例性织物的侧视图,该织物具有电极层,可将控制信号施加于在织物中的管束中的电泳墨水结构中。

智能织物服装
这是2023年年初,苹果获得的一项名为“带电器元件的智能织物”专利,将诸多传感器整合到服装的接缝处,从而实现更深层的交互。

苹果在专利描述中表示在织物中加入电器元件是极具挑战的事情。织物是柔性的,因此在织物上安装结构可能很困难。电气元件必须与信号路径(例如传输数据信号、电源等的信号路径)相耦合。因此,最好能够提供改进的技术,将电气元件纳入带有织物的物品。
织物控制设备
2022年,苹果将智能织物研究指向Apple Watch和AirPods之外的可穿戴技术。专利表明,苹果正在研究如何将传感器和开关编织到织物中,然后可用于智能包、家具、服装等。
这项名为"织物控制设备"的苹果专利,主要涉及将任何东西嵌入织物的细节。苹果表示,使用织物等材料形成包、家具、服装、电子设备和其他物品可能是可取的,然而,如果不注意,基于织物的这些物品可能无法提供所需的功能。
例如,基于织物的电子设备在使用时可能很笨拙,可能没有一个有吸引力的外观,或者可能不提供所需的功能。该专利集中讨论的是最后一点,即让织物物品成为控制装置的问题。在列举了每一种可以想象的电子设备类型后,该专利接着给出了更具体的、可立即识别的织物项目。
苹果表示,织物可能是一条带子,可能是一个腕带或头带,可能是一个设备的可拆卸盖子,可能是一个有带子的箱子或袋子,或者它可以是椅子、沙发或其他座椅的一部分(例如,坐垫或其他座椅结构),可以是衣服或其他可穿戴物品的一部分(例如,帽子、皮带、腕带、头带、袜子、手套、衬衫、裤子等),或者可以是任何其他基于织物的物品。

苹果表示一个基于织物的项目可以包括一个用织物覆盖的外壳。织物的区域可与输入电路重叠,如按钮开关、触摸传感器、力传感器、接近传感器和其他传感电路,并可与其他组件重叠,如发光组件和触觉输出装置。该专利的细节显示了一个用织物包裹的遥控器。此前,苹果还获得了一项专利,即通过智能手套控制Mac。新的专利将其扩大到几乎所有可以用织物包裹的东西。
基于织物的物品可以包括控制电路,从输入电路收集用户的输入,基于织物的物品可以有一个重物,该重物位于外壳内,当外壳放置在表面上时,可将外壳定向到所需的方向。很难想象目前的扁平Siri遥控器在面朝下放置时,会把自己翻过来。然而,苹果公司的图纸显示了一个更加圆润的圆柱形设备,可能具有自定位功能。
这种织物材料由聚合物、金属、玻璃、石墨等形成,然后多个材料丝(多个单丝)交织在一起形成的股,最后形成织物。如果电路被编织到织物中,那么该织物可以具有增强的透光性,按钮标签,或明显的纹理区域。织物的其它属性可以与输入电路重叠,如按钮开关、触摸传感器电路、力传感器、接近传感器和其他传感电路。
苹果在智能织物的构成方面的技术
苹果在智能织物的构成方面,2021年就已有授权专利。例如,基于织物的物品可以具有一系列电子元件和一层或多层织物。织物层可用作电子元件的基底,或可耦合到其安装电子元件的支撑结构。

该电子元件可安装到支撑结构,例如柔性印刷电路。柔性印刷电路采用由开口阵列形成的网格图案。蛇形柔性印刷电路段可在开口间延伸,并且可以互连电子元件已焊接到柔性印刷电路的部分。
该电子元件可以是发光二极管或其他电气装置。带有光散射颗粒的聚合物或其他材料可能会覆盖电子元件。该柔性印刷电路和组件阵列可以层压在织物层或其他材料层之间。

上图1为基于智能织物的示例性物品的示意图;
图10为说明性织物层的横截面侧视图,展示了如何选择导电纱线等导电材料股线置于织物层的表面,以及用于制成焊料隆起焊盘等接触件,以耦合到电气元件;
上图17为说明性网状(网状图案)柔性基板的分解透视图,填充了电子元件阵列和相关材料层,例如织物层或具有配合接触垫的其他柔性层。
小结
智能织物是CMF设计与电子科技结合的产物,目前的研究还处于起步阶段,研究方向主要集中在功能方面
。痛点问题还比较多,比如产品生产的复杂性导致成本升高;产业链的技术都还处于不断的完善、优化与发展中;如何兼顾智能化与产品本身需要具备的性能,比如机械性、舒适度等。
虽然有诸多问题,但值得期待的是,智能织物的浪潮已经逐渐从学术界蔓延至商业市场,并且不断冲击着现有的移动终端的产业和市场格局,致使科技巨头们也加码布局智能织物。在智能织物研发不断突破,新专利频现的情况下,相信智能织物离我们的生活已经不远。
-

2023.06.09
精益达高端商务椅亮相北京道展,荣获“2023年道路运输展车辆零部件创新产品”奖项
2023年5月17日,为期三日的2023年北京国际商用车及零部件展览会暨北京国际道路客货运运输车辆及零部件展览会在中国国际展览中心拉开帷幕。精益达高端电控商务座椅YTE01A参展并荣获“2023年道路运输展车辆零部件创新产品”奖项。该座椅结合新的50公里碰撞强度标准,自主研发满足50公里碰撞标准的骨
-

2024.02.26
“辰”风破浪启新程,“龙”耀前行勇攀登
“辰”风破浪启新程,“龙”耀前行勇攀登底盘事业部开工红包送福活动2024年2月26日,正月十七。新年新气象 万事开门红,底盘事业部正式开工,并于上午发放开工红包,为全体复工的底盘人,送去开工第一天好彩头,祝愿大家万事大吉、顺心如意。欢庆新春的到来,鼓舞士气,为新的一年注入活力。底盘事业部李师总经理率
-
2024.08.08
座椅事业部高端总装工段新线举行搬迁仪式
2024年8月7日,座椅事业部高端总装工段在专用车厂区举行新线线体搬迁仪式。通过新线线体仪式的启动,座椅事业部高端总装工段70多名员工跨度至专用车厂区,为事业部50公里产品法规升级切换储备生产能力。专用车厂区座椅生产团队是一支年轻而又充满活力的团队,面对困难,他们无所畏惧;面对挑战,他们勇往直前,在新的起点,他们将会继续秉承使命,不负众望,在事业部领导的带领下,全体员工共同努力,团结协作,冲刺年度工作目标达成。“搬迁不减产,全力保生产,力争先进团队”在员工嘹亮的口号中,高端总装工段新线线体搬迁仪式圆满结束。事业部领导提出更高的目标:新产线、新征程、新环境让座椅人也带着新的力量,战胜新的挑战





